788-400/600-0-02
| Жалпы мәліметтер | ||
|---|---|---|
| Машина түрі: | Safety-valves | |
| SUBTYPE: | High parameters valves | |
| Жұмыс ортасы: | steam | |
| Корпус материалы: | 20 | |
| Температура: | 139 | °C |
| Сипаттама 788-400/600-0-02 |
|---|
| Safety-valves are designed to prevent equipment damage under extreme pressure level by means of automatic vent of liquid, gaseous, vaporized medium excesses from vessels and systems with overpressure. |
| Сипаттамалары | ||
|---|---|---|
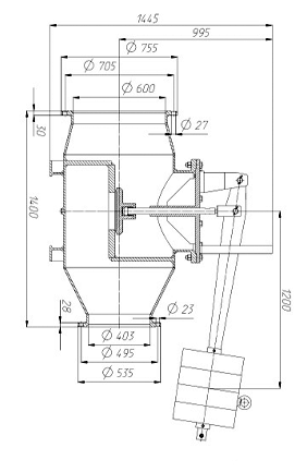
| Диаметрі, DN: | 400 | мм |
| Температура: | 139 | °C |
| Жұмыс жүрісі: | 100 | мм |
| Шығын коэффициенті: | 0.5 | |
| Өлшемдері | ||
|---|---|---|
| Салмағы: | 1103 | кг |
| Өту қимасының ең кіші ауданы: | 452 | см2 |
| Жұмыс жүрісі: | 100 | мм |
| Жетек | ||
|---|---|---|
| Қысым, PN: | 0.35 | МПа |
| Габариттік сызба 788-400/600-0-02 * |
|---|
|
help_oprosnik