1522-10-M
| Жалпы мәліметтер | ||
|---|---|---|
| Машина түрі: | Control and throttle valves | |
| SUBTYPE: | High parameters valves | |
| Жұмыс ортасы: | water-steam | |
| Корпус материалы: | 20 | |
| Температура: | 450 | °C |
| Сипаттама 1522-10-M |
|---|
| Control valves are the most used valve type designed for continuous or discrete adjustment of flow and pressure. |
| Сипаттамалары | ||
|---|---|---|
| Диаметрі, DN: | 10 | мм |
| Максималды қысым айырмасы: | 1 | МПа |
| Температура: | 450 | °C |
| Мкр?: | 25 | |
| Айналымдар саны: | 2.5 | |
| Жұмыс жүрісі: | 10 | мм |
| Шартты өткізу қабілеті Kv: | 0.6 | м3сағ |
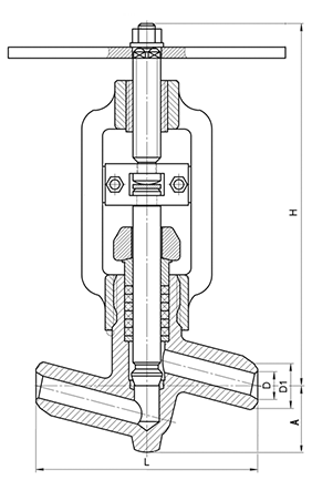
| Өлшемдері | ||
|---|---|---|
| D1(D3): | 10 | мм |
| D2(D4): | 22 | мм |
| Биіктігі (H): | 220 | мм |
| Ұзындығы (L): | 110 | мм |
| A: | 28 | мм |
| Салмағы: | 3.1 | кг |
| Жұмыс жүрісі: | 10 | мм |
| Жетек | ||
|---|---|---|
| Басқару әдісі: | М | |
| Жетек түрі: | - | |
| Жетек қуаты: | - | кВт |
| Толық жүріс уақыты: | - | с |
| Қысым, PN: | 10 | МПа |
| Габариттік сызба 1522-10-M * |
|---|
|
help_oprosnik